Passer au contenu principal Passer à la recherche Passer à la navigation principale

fermeture pendulaire Record H11KSF - droite

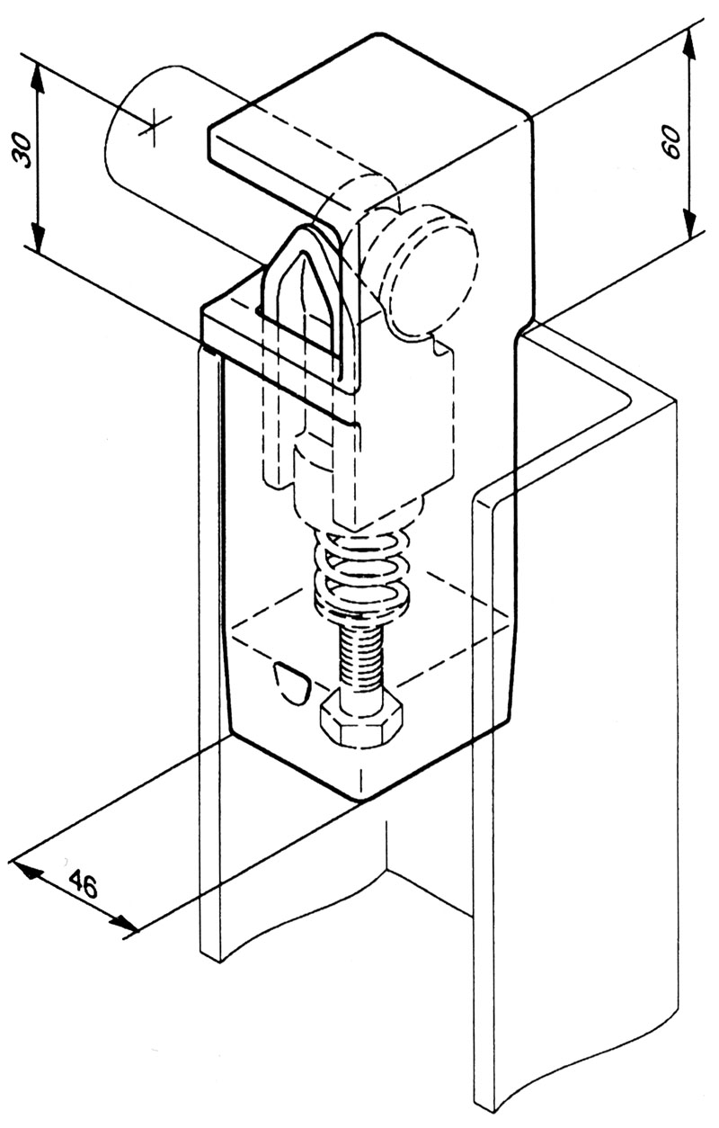
Informations sur le produit "fermeture pendulaire Record H11KSF - droite"

Utilisations possibles:
Pour bennes basculantes, remorques, semi-remorques avec montants centraux et d’angle, particulièrement avec ridelles hautes en acier ou en aluminium.

Indication:
Si la ridelle doit être rabattue, le verrouillage ne peut être desserré qu’avec un outil.

Indication pour le montage:
La fermeture pendulaire est soudée sur le rancher.

Surface: brute

Poids: 2.28 kg
Ignorer la galerie de produits

Produits similaires

fermeture pendulaire Record H11 latéral - L=55mm - gauche
Utilisations possibles:Fermeture pendulaire pour benne basculante, semi-remorque et remorque avec montants centraux et d'angle, avec ridelles en aluminium et en acier.Indication:Uniquement pour ridelles latérales !Avantages:Hauteur de commande confortable pour les véhicules avec ridelles hautes.Indication pour le montage:Le palier pendulaire est soudé dans le rancher. L'unité de levier peut être vissée ou soudée. Les différents points de vissage sont simplement pointés et doivent si nécessaire être percés in situ.Surface: galvaniséepalier pendulaire: brutePoids: 3.10 kg

De 1,19 €*

Vers le produit